zurück

Zweikreiser / 2008
mit abstimmbarer, aktiver Ferritantenne
www.mdeffner.de


Vergrößerung durch An-klicken

Front-Ansicht Ansicht von oben


Verdrahtung Rückseite



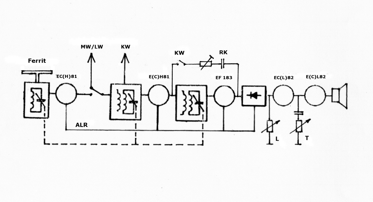
Blockschaltung  




Beschreibung

Technische Merkmale:
Röhren: ECH_81, EF_184, ECL_82
Kreise: Abstimmbarer Vorkreis + Anodenkreis
Ferritantenne: abstimmbar, aktiv
Demodulation: Germanium-Diode OA_95
ALR: Schwundregelung

Schaltungsbeschreibung:
Die Hf-Stufen bilden die Röhren ECH_81 und EF_184. Dabei übernimmt das Trioden-System der ECH_81 die Verstärkung der Ferritantenne. Die Ferritantenne kann wahlweise zu- oder abgeschaltet werden. Die EF_184, eine sehr steile Pentode, arbeitet auf einen ohm'schen Anodenwiderstand, an dem das Hf-Signal zur Demodulation und Gewinnung der Regelspannung abgenommen wird. Für die Schaltung ist auf Lang- und Mittelwelle keine Rückkopplung nötig. Durch die ALR stellt sich die optimale Empfangsempfindlichkeit automatisch ein, und es wird eine Komfortabstimmung erzielt, wie man sie nur vom Super kennt. Der Spulensatz enthält noch Kurzwelle. Es hatte sich herausgestellt, dass sich damit gegen die Erwartung sehr brauch=
barer Empfang erzielen ließ. Hierfür wurde eine Rückkopplung nachgerüstet, die an der Geräterückseite mittels Trimmer fest eingestellt bleibt.
Die Nf-Verstärstufen (ECL_82) haben Lautstärkenregler und Tonblende. Zur leichten Anhebung der tiefen Frequenzen läuft eine Gegenkopplung von der Sekundärseite des Ausgangstrafos zur Vorstufe. Die Endstufe leistet ca. 3 Watt.

Kommentare:
1. Der Entwurf zu dem Gerät ist aus einer Experimentierlaune heraus entstanden. Es waren aus der Vergangenheit ungenutzte     Teile (altes VE-dyn-Chassis, DREIPUNKT-Spulensatz) vorhanden,
2. In der Radio-Geschichte gibt es so gut wie keinen Geradeaus-Empfänger, der mit Dioden-Demodulator ausgerüstet wurde.     Standard war immer die Gittergleichrichtung (Audion) oder Anodengleichrichtung. Beide Verfahren sind mit dem Nachteil     der Verzerrungsneigung belastet. Die Diodengleichrichtung arbeitet diesbezüglich absolut einwandfrei und bietet noch den     Vorteil einer verfügbaren Richtspannung zur Schwundregelung an. Die so gewonnenen Resultate sind beachtlich und zur     Nachahmung empfohlen.

AM-Sender werden in der Regel bis ca.10 kHz moduliert. Der Standard AM-Super hat aber nur noch eine Zf-Bandbreite
von 5 kHz. Daher klingt die Wiedergabe dumpf und unbefriedigend. Nach Einführung des FM-Empfangs (UKW) wurde die AM-Technik in diesen Empfängern stark vernachlässigt.
Anders beim Geradeaus-Empfänger. Legt man beim AM-Empfang keinen Wert auf Trennschärfe, dann empfängt man mit
2 Abstimmkreisen die Sender (z.B.Orstsender) mit erstaunlich guter Ton-Qualität. Die Zuschaltung der Ferritantenne liefert bessere Trennschärfe aber auch mehr Empfindlichkeit bei Fernempfang. Je nach Aufstellungsort und Antenne (in der Regel genügt ein Stück Draht von ein paar Metern Länge) kann es jedoch Störungen geben, die durch den immer stärker werdenden Elektro-Smog in unsereren Wohnräumen (Schaltnetzteile, Energiesparlampen, WLAN) verursacht werden. Dann ist die Ferrit=
antenne leider unabdingbar !

August 2009